1.確認アラートについて
タスク作成後に完了処理を忘れて残ってしまったタスクを見逃さないためのアラート機能です。
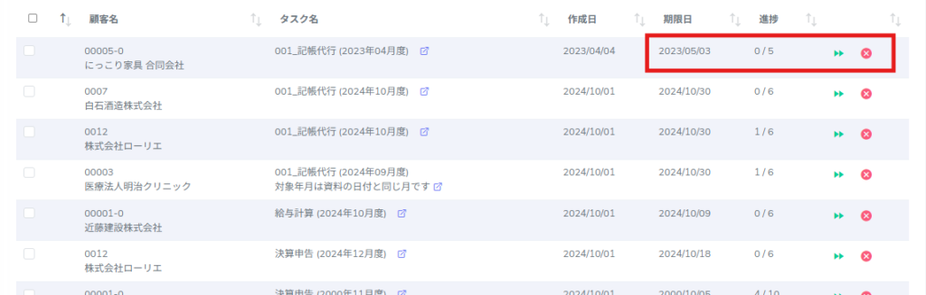
作成日から半年以上経過している「未完了タスク」がある場合、ダッシュボードにアラートが表示されます。
▼アラートが表示される条件
以下のすべてに該当するタスクがあると、ダッシュボードにアラートが出ます。
・作成日から半年以上経過している
・タスクのステータスが「未完了」のまま
▼アラート対象となるタスク(権限別)

2.アラートが出た場合の対応方法
1.[Dashboards]画面上部のアラート内の「こちら」をクリックします。

2.未完了のタスクが表示されます。
画面右側のボタンで処理を行います。

3.現在進行中のタスクでアラートを延長したい場合は、 [アラートを半年後に再設定](「>>」アイコン)をクリックします。
半年後に再度アラートが表示されます。
※アラートはタスクを「完了」にするまで繰り返し表示されます。

4.タスクを完了させる場合は下記の手順で進めます。
4‐1.[強制完了](「×」アイコン)をクリックします。

4‐2.必要な項目があれば入力し、[完了]をクリックします。

4‐3.画面上部に「タスク(#0000)を完了しました」と表示されたら完了です。

3.一括完了方法
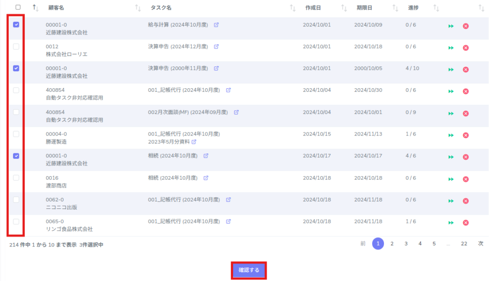
1.[Dashboards]画面上部のアラート内の「こちら」をクリックします。
一括完了させたいタスクにチェックを入れます。
[確認する]をクリックします。

2.表示された一覧で内容を再度確認します。(赤点線枠)
問題なければ[完了する]をクリックします。

3.画面上部に「一括で完了させます。本当によろしいですか?」という確認メッセージが表示されます。
内容を確認し、[OK]をクリックします。

4.画面上部に「タスクを完了させました」と表示されたら完了です。
